
A new patent discovered today reveals that Apple, on the brink of announcing the next iPhone later this year, is already planning some exciting features for iPhone revisions in the years to come. Apple was recently granted a patent that outlines technology for interactive sidewall displays, allowing for virtual buttons to replace hardware buttons currently found of the side of Apple mobile devices.
The patent, No. 8,723,824 as seen on the United States Patent and Trademark Office Website, is titled “electronic devices with sidewall displays” which is more accurately described within itself as being a method wrapping flexible displays around a device’s sidewalls. As noted in the original report at Apple Insider, this isn’t the first time Apple has patented this kind of technology; the technology is less ambitious here, though, and could potentially be implemented soon.

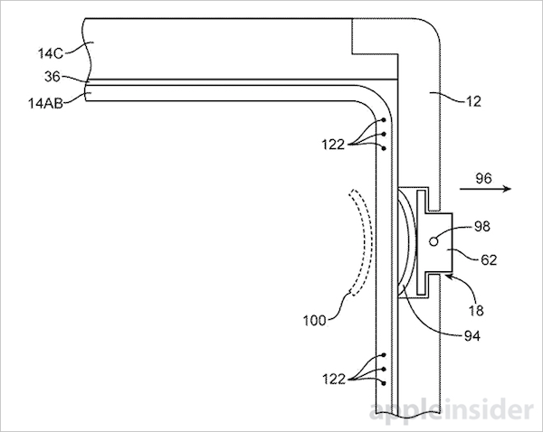
Interestingly, the document outlines that at least one side of the wrap-around display would have a bezel screen as well, attaching the sidewall display to the device’s main screen. The patent describes the side screens as running down the entire side of the device, but potentially being covered by paint or otherwise in places where the sidewall touch panel wouldn’t be used. Locations where virtual buttons would be placed would be left uncovered of course, leaving openings for the active touch sensitive areas.
The most exciting part of technology like this one day landing on our devices is that putting screens like this on the side of the device would free up screen real estate on the main touchscreen. Additionally, the sidewall screens would be customizable, which would allow the most efficient use of the space depending on applications being run and tasks that need to be accomplished. Physical buttons are incapable of this, and can only be used for one purpose in most cases.

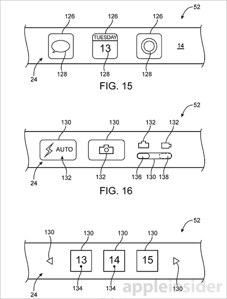
The patent outlines many of these potential additional use cases, including app icons displayed on the sidewalls for various uses, scientific operations when using the calculator app, and many different camera buttons to be used when the camera app is in use. Gestures can also be used on the sidewall displays just like the front-facing display to allow many other use cases including slide-to-unlock, caller ID and system controls, and many more.
The patent also lists other technologies, including tactile feedback buttons underneath the virtual buttons which take advantage of the flexible display. This physical button, located beneath the surface, can allow for the buttons to remain relatively physical while their uses can be changed depending on the situation. As you can see below, a dome switch would be theoretically placed beneath the surface which would be depressed when using the virtual buttons.

The next generation iPhone, rumored to be called the “iPhone 6” isn’t expected to have any of the above described technology, but flexible displays are definitely starting to be commonplace in the industry, with Apple’s rumored “iWatch” said to be including one when it’s expected to be announced later this year. Other companies are already utilizing this technology in their smartphones, which could mean Apple may not be far off.
Would you like to have virtual sidewall buttons on your iPhone?
[AppleInsider]