Following Apple’s acquisition of security firm AuthenTec, it has been widely speculated that the next iPhone will have a fingerprint sensor for enhanced security. The company has now filed a patent application for a method to package together the internals of a fingerprint sensor, further fuelling this speculation.
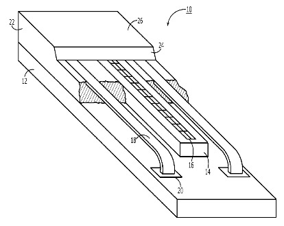
Most fingerprint sensors consist of a biometric sensor array and a conductive bezel. The surface of the sensor array is exposed and uncovered so that it can come in contact with the user’s finger, but this can lead to physical damage. The bezel’s function is to send some current through a user’s finger so that it gets charged and can be read by the sensor array.

16 – sensor array, 18 bezel
These two components have generally been separate elements, but Apple, in its patent application, proposes the idea of unifying these two components into one “unitary encapsulation structure,” which shields the unit from mechanical, electrical, and environmental damage. From the patent application:
By encasing both the bezel and the sensor die in the encapsulation structure, those elements may be brought closer together than heretofore possible. In addition, the encapsulation structure physically protects the bezel and sensor die, and in particular maintains the spacing therebetween, in a fashion not possible by currently known device designs.
Although the patent application was filed in February this year, the ideas described are based on previous filings by STMicroelectronics’ fingerprint business, which was later merged with AuthenTec, and ultimately became Apple’s intellectual property. One of the inventor of the STMicroelectronics patent in fact works for Apple now, and is listed as an inventor on this application as well.
Both rumors as well as hiring activity suggest that Apple’s planning to do something substantive with fingerprint sensors soon, possibly suggesting to the inclusion of a sensor in the next iPhone as the differentiating factor, since the physical design is likely to remain the same.
[via Apple Insider]