
Android phone makers have jumped onto the foldable-screen phone bandwagon, but all such phones seem to have an issue with the screen crease. However, Apple seems to be working on a solution that can solve such issues with foldable screens.
Apple seems to be working on an iPhone with a foldable screen. According to a patent filed by the Cupertino-based firm with the USPTO (United States Patent and Trademark Office), it appears that the company is looking into a solution that uses a flexible display and a hinge which prevents the screen from developing a crease. This reduces the tendency of foldable screens to form bumps and lumps.
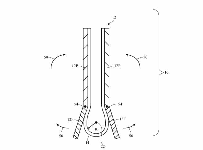
The company’s solution includes a mechanism that lets the screen fold but with a larger radius, thus minimizing stress and preventing from crease to appear. The proposed hinge mechanism helps in folding the flexible screen and bends it slightly outwards, which is very similar to how Motorola RAZR’s hinge works. Plus, this technique also helps the screen close completely flat in the folded state, making the phone appear neat.

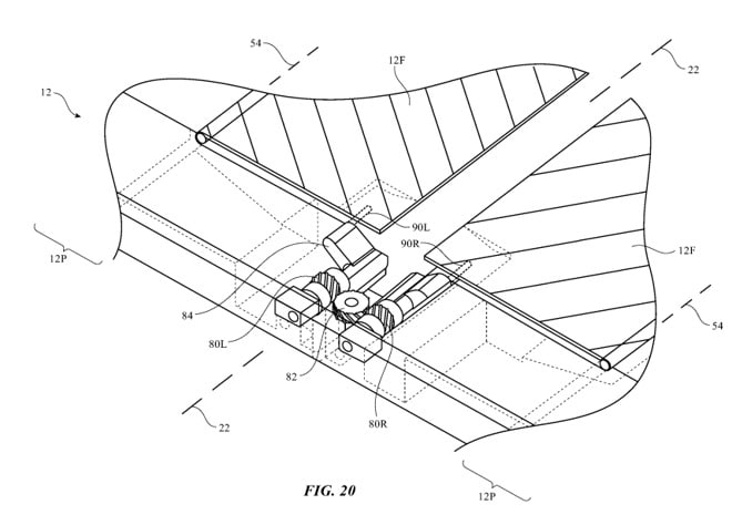
There is a void where the screen bends, which might lead to that part of the display not being supported properly. However, Apple has a solution for this problem as well. The company’s mechanism includes retractable flaps that extend internally to support the display where it bends. So, whenever pressure is applied to the folding part of the screen, it stays safe. Overall, it looks like a complicated but clever solution to solve the creasing problem of foldable-screen phones.
It is not the only solution Apple is working on for foldable screen devices, though. In the past, the iPhone maker has filed various patents that involve displays that bend in a zig-zag fashion, a device with a two-way fold, and a device with a wraparound display. The company has even proposed a solution that involves a heating element to warm up the folding part of the screen to minimize the damage in cold weather.

The company might also use an Ultra-Thin Glass-like solution that Samsung seems to have used for the upcoming Galaxy Z Flip clamshell foldable screen phone.
Our Take
Apple files dozens of patents each year, and there’s no guarantee that its recent patent for a foldable screen iPhone will materialize. However, it is the simplest and the most clever solution the company has put forward yet. And looking at how the foldable-screen phone market is panning out, there’s a possibility of the company launching a foldable iPhone in the next few years.
[Source: USPTO]