
Apple has been granted a new patent that would allow the Cupertino-based giant to add a periscope zoom camera to the iPhone. Apple has been rumored to introduce the 2022 iPhone with 10x or 100x zoom capabilities, and the patent might have been granted for the iPhone 14 only.
The patent was first spotted by Patently Apple and has been granted to Apple by the United States Patent and Trademark Office. The patent titled “Folded Camera” explores the possibility of integrating multiple lens systems into mobile devices for capturing high brightness and high-resolution images from a mobile device, supposedly for iPhone.
“The advent of small, mobile multipurpose devices such as smartphones and tablet or pad devices has resulted in a need for high-resolution, small form factor cameras that are lightweight, compact, and capable of capturing high resolution, high quality images at low F-numbers for integration in the devices… Thus, a challenge from an optical system design point of view is to provide an imaging lens system that is capable of capturing high brightness, high resolution images under the physical constraints imposed by small form factor cameras.”
Periscope zoom patent granted to Apple is based on a different technology than the one used by Samsung for S20 series smartphones that have 100x zoom. Apple could have used the same technology used by Samsung for its smartphone, though it would have then paid Samsung some fee.

Currently, it is not possible to integrate more than 2x or 2.5x zoom in iPhone’s camera due to the physical constraints. Adding a camera that has a native 10x zoom would mean a bigger camera bump (and by bigger I mean a lot bigger) which is kind of impossible. The periscope zoom lens has a folded camera system that “bends” the light through a prism for increased optical zoom and improved image quality.
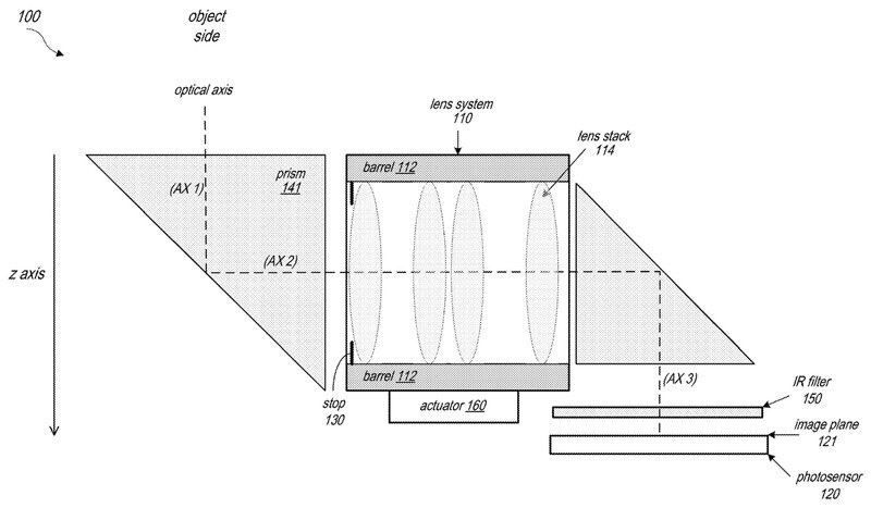
The technology used by Samsung has a “ball-type actuator” that allows for the 100x zoom. The technology used by Apple has two prisms — one placed normally and the other placed upside down — with multiple lenses in between the prisms. The lens in between the prisms can move independently allowing for accurate focus.
“The shapes, materials, and arrangements of the refractive lens elements in the lens stack may be selected to capture high resolution, high quality images while providing a sufficiently long back focal length to accommodate the second prism.”
Apple is rumored to announce future iPhones with next-generation zoom capabilities. Granting of the patent means Apple has developed a technology that is usable in its mobile devices, such as iPhones and iPads, and an iPhone with 10x or 100x zoom might be closer than we anticipated earlier.
What are your thoughts on an iPhone with a periscope zoom camera? Do you think having 10x zoom capabilities on a phone is useful or is it just a marketing gimmick? Let us know in the comments section below!
[Via Patently Apple]