
A new patent application by Apple hints at the company developing a technology that might detect light through the display. The technology might be used for future versions of Face ID and Touch ID.
Apple, since iPhone X, has kept the notch the same. It’s probably the biggest notch found on a flagship smartphone and has been a big debate ever since Samsung, and other OEMs shifted to a punch-hole display for their flagship smartphone. Although Apple claims that Face ID is far better than ‘any’ other facial recognition system, the company is known to be exploring punch-hole display for future iPhones.
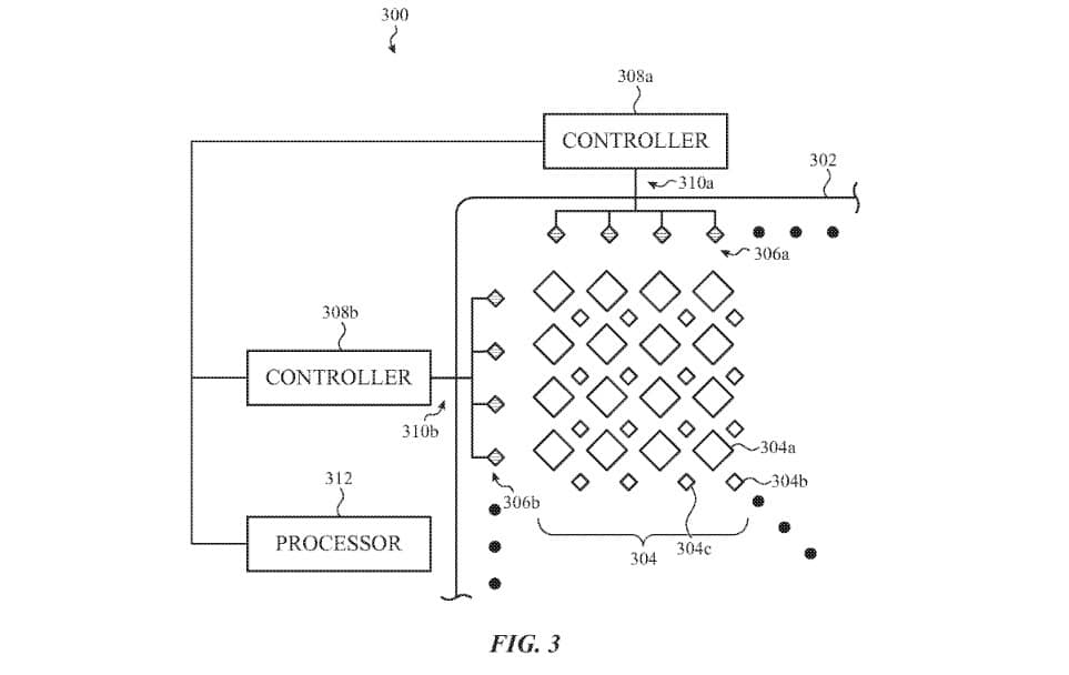
A new patent, filed by Apple, hints that the company is looking to explore a system that could still house the Face ID components, and minimize the notch. As reported by AppleInsider, a patent filed by Apple titled “Sensing System for Detection of Light Incident to a Light Emitting Layer of an Electronic Device Display” highlights a system where the company plans to embed a light detection sensor behind the display.

In the patent, Apple cites two possible implementations. In the first one, the patent says that a sensor behind the display could assemble an image of an object touching the display, possibly the future version of Touch ID. The system could also utilize an ambient light sensor.
The second implementation would use a system that would include an array of photodiodes or solar cells that would assemble the pixels of the image. The system would use electrical signals from the photodiodes to sense colors and the intensity of the light. This implementation might work for the future version of Face ID. The system would add an ambient light sensor to improve the system’s accuracy.
Apple files many patents every week, but it’s not necessary that every patent technology would see the light of the day. Yesterday, Apple filed a patent that detailed a Mac-version of MagSafe charging for the iPhone. Apple is also expected to be working on improving the battery life of the iPhones with the help of the United States government.
What are your thoughts on the new technology? Let us know your thoughts in the comments section below!