
The U.S. Patent and Trademark Office (USPTO) today granted Apple a patent for a method to create and manipulate 3D objects using gestures made above a touchscreen’s surface.
The patent titled “Working with 3D objects” covers methods to represent 3D objects on a touchscreen, and subsequently update an object’s representation based on user input, which can either be through touch or using air-gestures. A simplified claim from the patent says:
Detecting a gesture input that comprises a movement of a finger in proximity to a surface of the display, measuring a distance between the finger and the surface of the display; modifying the 3D object according to the gesture input; and displaying the updated representation of the 3D object on the touchscreen.
Normal touch screens can recognise 2D gestures made on the display, but a proximity sensor, in combination with the existing capacitive touch sensors, adds an extra dimension altogether, letting the user make gestures in 3D space.
Having all three dimensions to sense user input enables all sorts of interesting possibilities like creating 3D objects using 2D objects as the base:
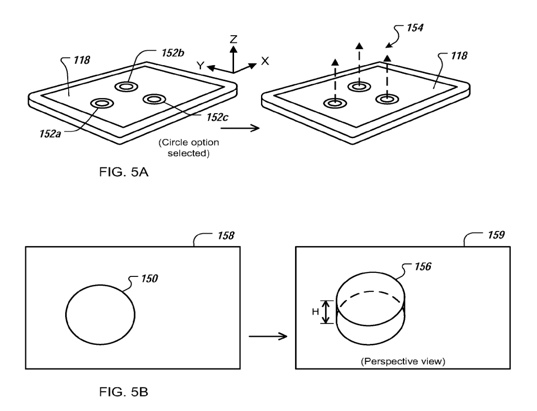
A first user input identifying a 2D object presented in a user interface can be detected, and a second 3D gesture input that includes a movement in proximity to a surface can be detected. A 3D object can be generated based on the 2D object according to the first and second user inputs, and the 3D object can be presented in the user interface where the 3D object can be manipulated by the user.
The simplest example of the idea described here is the creation of a cylinder — users draw a 2D circle on the screen, and then pull their finger(s) away from the screen to give the circle a third dimension of height.

This idea can be taken forward to add more complexity and let users “sculpt” objects, as Apple describes in its patent:
A “sculpting” mode in which 3D objects have properties as if made of clay, and finger movements are interpreted as sculpting 3D clay objects. The user may adjust properties of the clay, such as softness, during the sculpting process.
Depending on the finger movements, indentations may be formed in the object and portions of the object may be squeezed smaller while other portions may be enlarged (as if the clay material were squeezed from one region to another). When the pinch-and-pull gesture input is applied to an object having clay-like properties, pulling a portion of the object for a distance beyond a threshold may cause the portion to break off from the main body, just like pulling a portion off a lump of clay. A “pinch-twist-and-pull” gesture input can also be used to twist and break off a portion from the main body of an object.
As Apple describes, 3D gestures could spawn a whole new category of content creation apps for artists, designers, architects etc.
The air-gesture idea described in the patent can already be seen in the Microsoft Kinect and the Leap Motion controller, though the inner workings of the two might be different than what’s described in the patent.
Tell us what you think about 3D gestures in the comments below. Samsung already has a few air gestures in its latest smartphone and they’ve been labelled “gimmicky.”
Also see: Demo of Kinect-like touchless gesture interface for iPad
[USPTO via Apple Insider]