Apple Experimenting Mac Pro’s ‘Cheese Grater’ Design for iPhone

Published 30 Mar 2021

iphone cheese grater design mac pro

Apple is reportedly experimenting Mac Pro’s infamous ‘cheese grater’ lattice design for future iPhones. A new patent granted to Apple today highlights the possibility of an iPhone with a unique design.

Apple introduced the Mac Pro and Pro Display XDR in 2019 with the design that took the world. The company introduced a design that had a unique lattice pattern which allowed for maximum airflow and even allowed the machine to work silently under the full workload.

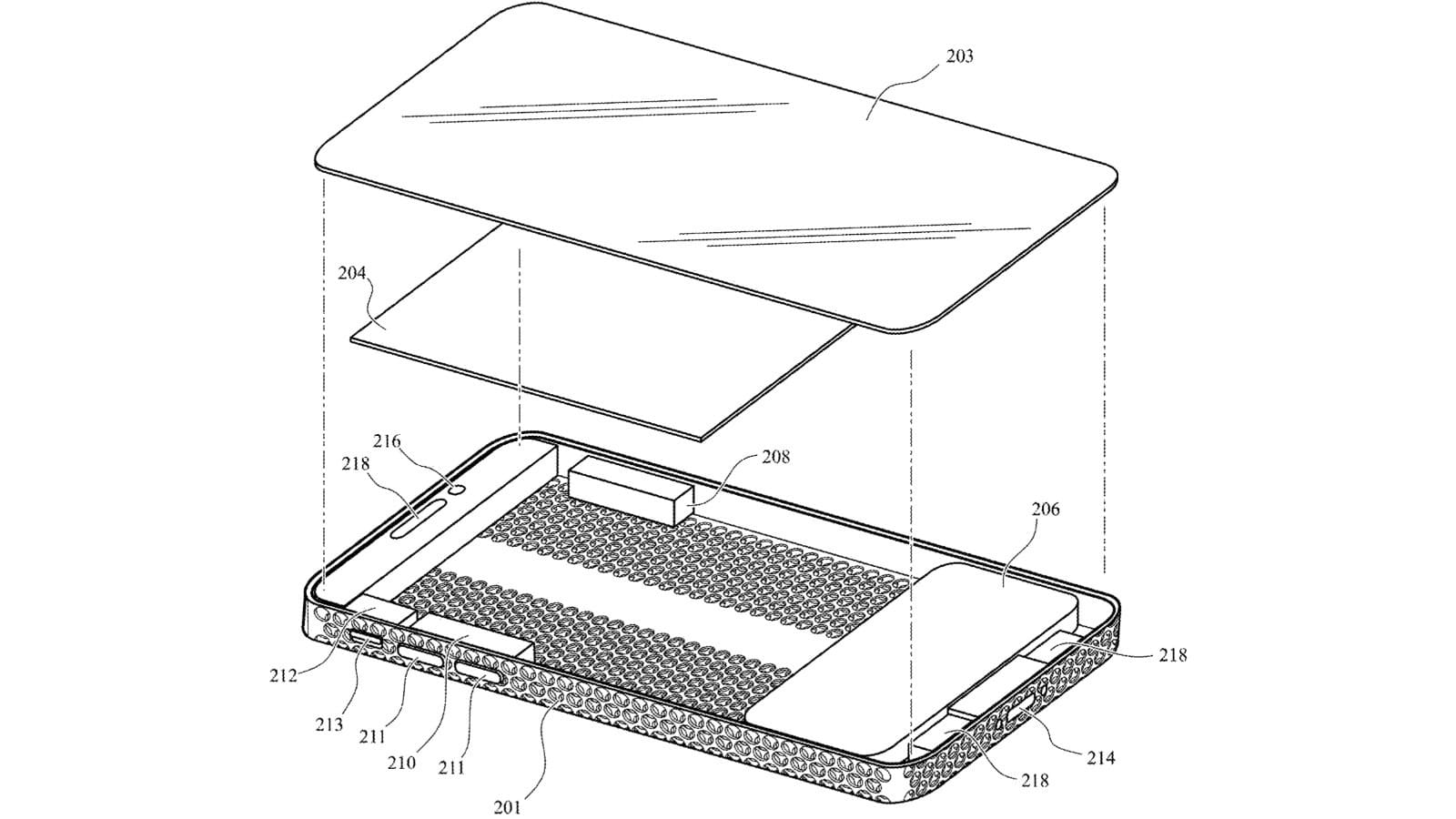
Today, a patent has been granted to Apple which discusses the possibility of bringing the Mac Pro’s cheesegrater design to iPhone and even the trashcan Mac Pro. The patent highlights that today’s electronic devices, although have huge performance capabilities, but are poorly designed and cannot “effectively distribute or reject heat generated to the surroundings.”

iphone lattice pattern

Apple believes that by using the lattice design from Mac Pro, it can maximize the airflow to the processor to keep it cool, and further push the boundary of its performance. Apple also says that such a design would be “visually interesting and aesthetically pleasing to the user.”

“The three-dimensional structures described herein can include, for example, a matrix of passageways that serves to greatly enhance the stiffness of the three-dimensional structure, without significantly increasing the size or weight of the structure. Thus, a relatively lightweight, yet extremely strong and stiff electronic device can be produced.”

The structure would also allow Apple to improve the smartphone’s structural strength without increasing the thickness or weight of components. Even though the concept sounds interesting, Apple doesn’t highlight how it plans to push the dust out of the phone’s chassis, given it will have so many openings.

We Want to Hear From You

Do you like the Mac Pro’s design? Would you like to see the cheese grater design on future iPhones? Let us know your thoughts in the comments section below!

[Via Patently Apple]