
Apple is reportedly testing new cases and covers for iPhone which could introduce some ‘mind-blowing’ capabilities to Apple Silicone cases.
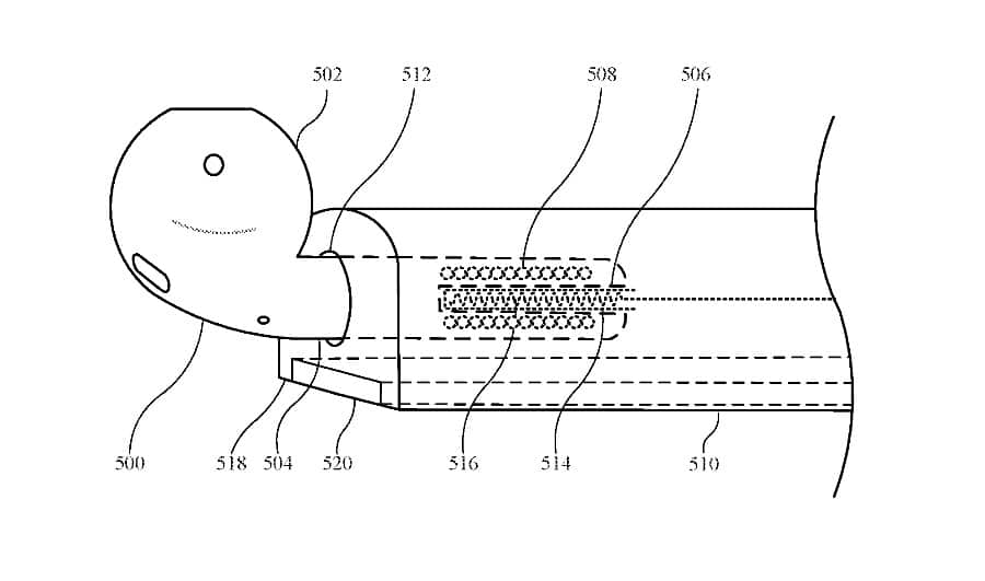
For quite some time now we’ve been able to charge Apple Pencil by magnetically connecting it to the iPad. Now, it seems like Apple is extending that capability to the iPhone, via its official cases. One of the patents even suggests that Apple has developed an iPhone case that could potentially charge your AirPods, eliminating the need for carrying AirPods cases separately.

The main patent published on the United States’ Patent Portal suggests that Apple is testing a wide range of cases. Cases can have a cavity in which a device, such as AirPods, or even a future Apple Pencil for iPhone, would fit in and charge the device. It may also act as a mere storage area for some products. Apple describes that the case can be “a folio, a wallet, a flap, a cover, an enclosure, a holster, a clip, a sleeve, an armband, or suitable combination thereof.”
The main idea behind filing such a patent is making it merely more than a cover. Apple used to release battery cover and cases for the iPhone. The new idea extends that vision, by integrating a battery, as well as other cavities that would be used to charge, or keep accessories, and the iPhone itself.
You can see, in one of the images, that the case has a front cover with lighting LED that would show time and a cavity for AirPods on top. In one of the images, Apple has a flap-style cover that includes a cavity for storing AirPods. The flip one also has a cardholder, as can be seen in one of the images above.

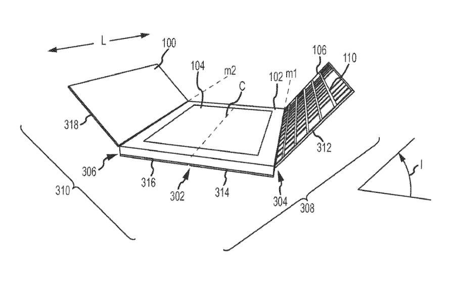
The second patent, also published on the United States’ Patent Portal, suggests more of an extension to Apple’s current Smart Case for iPad. The patent adds a touchscreen keyboard to the Smart Case which would have a small adaptive display for keys. The keys would then change based on the context of what you’re doing, and which language you would be typing in. We saw a similar patent for Mac a few days ago.
Our Take
Apple has patented a lot of things in the past, including a docking accessory for the iPhone and iPad, but most of them haven’t made it to a final product. But, with the company eliminating charging brick from iPhone box, and looking to further extend its revenue, it’s quite possible that this patent makes it to the product. Though there may be some time before we see it.
We Want to Hear From You
What are your thoughts on Apple’s latest patent? Would you buy an iPhone case with such capabilities? Which added capability would you like to see on Apple’s cases? Do let us know in the comment section below!