Apple files patent application for ambient solar cell light sensors

Published 6 Jun 2014

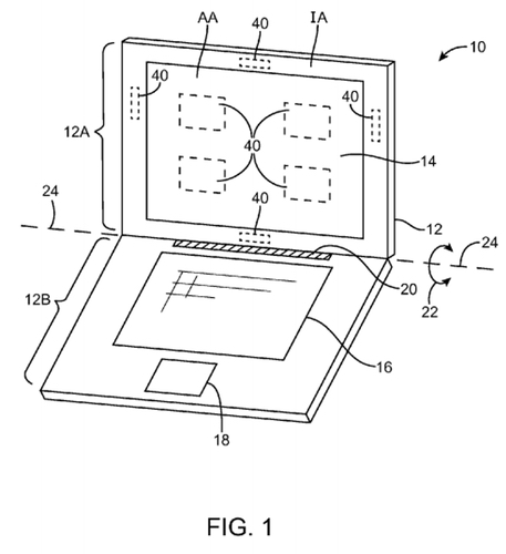
apple-patent-solarThe US Patent and Trademark Office, today, published a patent application from Apple that describes an ambient solar cell light sensor that adjusts the brightness of the display. Apple filed the patent application in 2012, and it was published for the first time today.

The system uses a photovoltaic cell that converts voltage to ambient light data, which is then used to modify the brightness of the display. When not adjusting a display, the collected voltage can be sued to charge the battery in a device.

An electronic device is provided with a display and a solar cell ambient light sensor that receives light through a portion of the display. The solar cell ambient light sensor may include one or more thin-film photovoltaic cells. A voltage that accumulates within the thin-film photovoltaic cell in response to ambient light is sampled and converted into ambient light data. The device includes control circuitry that modifies the intensity of display light generated by the display based on the ambient light data from the photovoltaic cell. The solar cell ambient light sensor is attached to a transparent cover layer, a color filter layer, or any other layer of the display. When the accumulated voltage is not being sampled for ambient light measurements, the voltage may be used to provide charge to a battery in the device.

Drawings and descriptions within the patent suggest Apple could use this technology in any device with a screen including iPhone, iPad, iMac and presumably an iWatch. The embedding of the light sensor into the display as a solar cell would open the door for a device with a smaller bezel. Currently, the light sensor sits in the bezel of the iPhone and iPad taking up valuable space that could be used for additional screen real estate.

Numerous reports suggest Apple is exploring solar charging technology for its various devices. A job application from earlier this year was looking for a manufacturing design engineer who was skilled a glass scribing, a technique that is used to place solar cells onto glass.

Do you think Apple will lead the way for solar-powered and controlled devices? let us know in the comments.