
Apple is known to be working on an under-the-display Touch ID for iPhone 13. A new patent granted to Apple today highlights the technology Apple might use for its under-screen fingerprint sensor.
Apple was granted a patent earlier this month, which allowed the company to detect light through the screen of the iPhone for future versions of Touch ID and Face ID. In a new patent granted to Apple by the United States Patent and Trademark Office titled “Under-display fingerprint sensing based on off-axis angular light,” the company discusses the usage of light rather than ultrasonic vibrations to read a fingerprint.
Optical fingerprint sensors are very common now. Even cheaper Android smartphones rely on the same technology for authenticating a fingerprint. The technology works by lighting up the fingerprint area and reading the fingerprint. But, there are some limitations with this implementation.

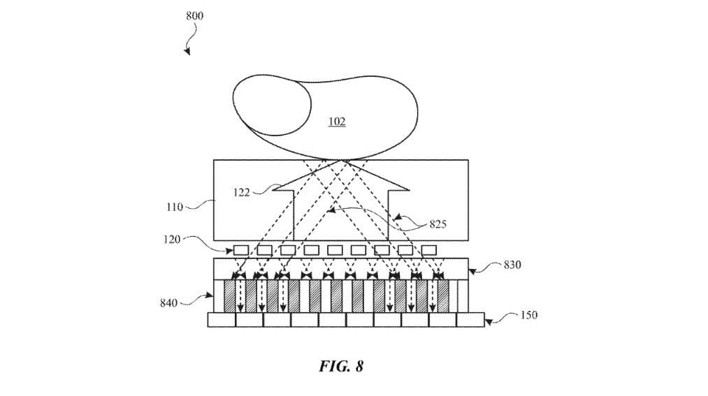
Apple, in the patent, discusses an approach that captures off-axis angular light which could “improve the contrast of fingerprint impressions and maintain the compactness of the entire sensing system.” The technology would use light from all the directions, which would then go through oblique angular filters to enhance image contrast.
A grating layer would bend the light create oblique light. An image sensor would then convert the light into electric signals to authenticate the fingerprint. Apple also discusses an approach that would use Fresnel prisms or blazed gratings to “rebind” the light into straight light rays.
What are your expectations from under the display Touch ID for iPhone? Let us know in the comments section below!