Future iPhones Could Eliminate Notch with the Help of Expanding Display

Published 3 Aug 2021

iPhone 12's Ceramic Shield display protection

Apple introduced a display notch on iPhone X, and soon enough other smartphone makers followed suit. The iPhone notch has largely remained unchanged and is still considerably large. Rumors predict that iPhone 13 could feature a smaller notch. A newly granted patent takes it to the next level by eliminating notch entirely and expand the display.

The patent describes how display in future iPhones could extend when the front camera and Face ID are not in use. It is titled “Electronic devices with adjustable display windows” filed with US Patent and Trademark Office/USPTO.

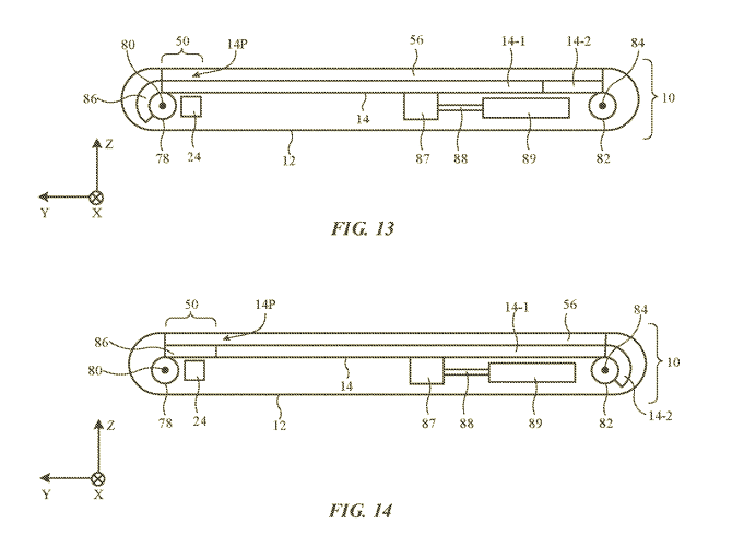
An electronic device may have a display with an array of pixels for displaying images. The display may have a window region. During operation, a component such as an optical component may operate through the window region. The window region may overlap a movable portion of the display. The window region may be operated in open and closed states. In the closed state, the movable portion of the display overlaps the window region and pixels in the movable display portion emit light through the window region. In the open state, the movable portion of the display is moved away from the window region so that light for the optical component may pass through the window region. The optical component may be a camera or other component that receives light through the window region or may be an optical component that emits light through the window region.

Apple calls it a “window region” where selfie cameras, depth sensors, and other optical setups could work. When not in use, the display will move back and hide the sensors. Two mechanisms aid the movement of the display. The first one could use either a flexible display or a separate display component that moves around the hinge. While opening the window region, the flap would be bent away from the display.

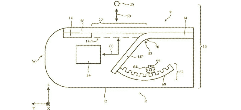
Another arrangement involves using a flexible display that moves with the help of an adjustable actuator. In this case, the entire display would be pushed down to make way for the window region. According to the patent, the window region will likely have a coating that allows more light to reflect on optical components. Apple could also use a periscope arrangement to hide the optical components when not in use.

[via USPTO]