We have all been waiting for a native instant messaging application for the iPhone and based on a patent filed by Apple it appears that we might see one soon (probably its high time as well).
The patent has not only reveals Apple’s plans to release the Instant messaging client and whats it going to like and hows going to work but it also provides some interesting details on the features we can expect in the future.
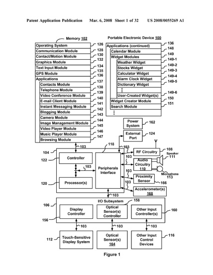
The illustrations from the patent filed by Apple for a native instant messaging iPhone application suggests that it is an extension of the current SMS application (read iChat-like), however the text in the patent provides some more interesting details such as the mention of "graphics, photos, audio files, video files and/or other attachments as are supported in a MMS and/or Enhanced Message Service"; thus indicating that iPhone will finally have the much requested MMS support in the future.
The other important point that seems to have been clarified in the patent is a reference to an iPhone user receiving "an instant message while the user of the device is in another application"; thus clarifying one of the concerns raised with iPhone SDK of a native iPhone application not being able to run in the background (this means that as per the patent the Instant Messaging app would be able to run in the background).
As you can see in the images below (courtesy Gizmodo) the illustrations also give us a glimpse of some exciting features we can expect in the future. The illustrations reveal not only the Instant messaging module but also a GPS and video conferencing modules.

Jason Chen @ Gizmodo does point out that "Apple’s thrown features into its patents that haven’t materialized before." however lets hope Apple releases the much awaited instant messaging application for the iPhone in June with iPhone firmware 2.0 via the AppStore and the GPS & video conferencing applications are rolled out when the new version of the iPhone is released.
Like what you see? Let me know.
[via Gizmodo]
Top iPhone Hacks Categories:
Hacks
iPhone Applications
Unlock iPhone
JailBreak iPhone
iPhone Tips & Tricks
iPhone Games
iPhone News
What next?